上海自提或三方快递

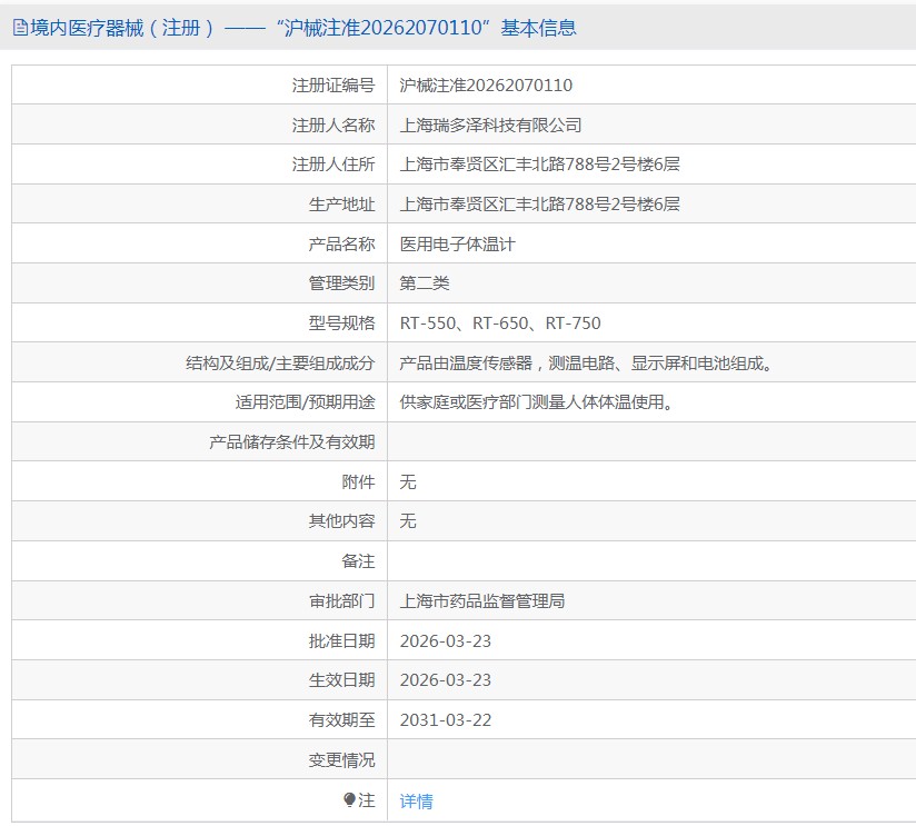
在医疗领域,体温测量是评估患者健康状况的基础环节。RT-550医用电子体温计凭借其创新设计与可靠性能,成为医护人员和患者的信赖之选。

RT-550采用高精度热敏电阻传感器,能够快速捕捉人体温度变化,确保测量结果的准确性。其独特的智能算法设计,可根据不同测量部位(如口腔、腋下)自动调整测温模式,减少环境因素对测量结果的影响。此外,体温计配备大尺寸液晶显示屏,读数清晰,即使在光线较暗的环境下也能轻松读取。
RT-550提供多种测量模式,支持口腔、腋下等多种测量部位,满足不同临床场景的需求。其测温范围广泛,能够覆盖人体正常体温及发热状态。体温计内置可充电锂电池,续航时间长,减少频繁更换电池的麻烦,同时符合环保要求。
精准度高:通过优化传感器与算法,RT-550在多次临床测试中表现出色,测量结果与标准值高度吻合。
操作简便:一键式操作设计,医护人员可快速上手,减少培训成本。
安全可靠:体温计外壳采用医用级材料,无毒无害,且具备防水功能,便于清洁消毒。
数据记录:内置存储功能,可记录多次测量数据,便于医护人员追踪患者体温变化趋势。
环境准备:使用前需确保测量环境干燥、通风,避免电磁干扰。
设备检查:检查体温计外观是否完好,显示屏是否清晰,电池电量是否充足。
校准操作:首次使用或长时间未使用后,建议进行校准操作,以确保测量准确性。
使用规范:根据测量部位选择合适的测温模式,将体温计探头紧密贴合皮肤,等待测量完成提示音响起后读取结果。
病人一服务配对。St.JosephHealth利用人工智能技术,有效地为病人选取合适 的健康服务提供商,降低了30%~40%的服务商空置率。
从被动诊疗向预防性诊疗的转变。智利服务商AccuHealth利用家庭互联设备监测,将自动化采集数据导入人工智能引擎,可在早期对病人身体状况进行预警。
对(医用电子体温计)询价,索取(医用电子体温计)彩页,(医用电子体温计)需要维修,需要授权,请联系我们总部客服400-090-0956
上海聚慕医疗器械有限公司成立于2015年,成立十多年以来已服务于10万+医疗用户,复购率达到31.25%
温馨提示:1.医用电子体温计可能含有禁忌内容或者注意事项,具体详见说明书;2.购买医用电子体温计后应仔细阅读医用电子体温计说明书或者在医务人员的指导下购买和使用;3.以上医用电子体温计内容均来自于生产厂家、代理商网站不作为宣传购买依据如与医用电子体温计说明书有冲突的,均以医用电子体温计说明书为准;
以下为公司资质:
